创同配资,正规实盘配资平台,平台配资炒股,网上股票配资,正规的股票场外配资平台,上网配资炒股,上海杠杆配资,实盘炒股配资 我们深知,信息的透明度对于投资者而言至关重要。因此,我们努力搜集并分享最新的市场资讯、交易数据以及虚盘曝光案例,让投资者在充分掌握信息的基础上做出决策。
智通财经APP讯,北京燃气蓝天(0682.... 05-26
中国经济网北京7月24日讯北交所网站昨日。... 07-31
渣打银行预计美联储下周将降息50个基点,。... 09-08
每经AI快讯,5月19日,慧博云通(301316.SZ)公告称,公司股票自2025年5月20日开市起复牌。公司拟通过发行股份及支付现金的方式取得宝德计算机系统股....
智通财经APP获悉贵丰配资贵丰配资,周一美股盘前,TXNM Energy(TXNM.US)股价大涨逾9%。此前该公司宣布贵丰配资,黑石(BX.US)基础设施基金....
【大河财立方消息】5月19日,贵州茅台公告称,贵州茅台2024年度股东大会于2025年5月19日举行E策略平台,会议通过了2024年年度利润分配方案,拟每10股....
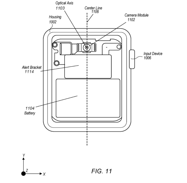
据彭博社报道掌盘策略掌盘策略掌盘策略,不再计划发布带有摄像头的 Apple Watch 。苹果原本计划开发带有摄像头的 Apple Watch 和 Apple ....
IT之家 5 月 23 日消息今日云策,彭博社昨日(5 月 22 日)发布博文,报道称公司内部已取消在 Apple Watch 中加入摄像头的计划。 苹果原计划....
今天(5 月 19 日)下午 14:30卢深策略, nova 14 系列及鸿蒙电脑新品发布会如期举行。 在本场发布会中,华为带来了 nova 14 系列、鸿蒙电....
【CNMO科技消息】据彭博社最新报道星合证券,正加紧推进一款智能眼镜的开发星合证券,并计划于2026年底正式推出。这款产品将对标Meta与雷朋合作推出的智能眼镜....
(原标题:伊之密(300415.SZ):分红预案已经公司股东大会审议通过)贝盈网 格隆汇5月20日丨伊之密(300415.SZ)在投资者互动平台表示,分红预案已....
(原标题:鱼跃医疗业绩下滑:疫情红利消退广禾配资,扛旗新品在何方?) 作者:郑勇康 编辑:张佳茗 近期新冠感染再抬头,这也让投资者再度关注抗病毒概念公司,比如新....
(原标题:恒生红利低波ETF(159545)年内第二次分红日昇配资,易方达喊你领红利) 又有ETF要分红了。日前,易方达基金旗下的恒生红利低波ETF(15954....
创同配资文章加载中,请稍后...
修仙家族模拟器2-获取游戏领取礼包码关注订阅号(浩辰游戏盒) 一、周年庆登录有礼 活动时间:1月1日0点开启到1月7日24点结束 活动期间,所有登录的玩家每天都....
北京时间2026年1月4日,昨天DOTA2 Blast S6中国区预选赛迎来最终决战日的焦点对决,由拒绝者Paparazi领衔的重组劲旅Refuser对阵老牌豪....
这篇文章我们来看一下发育路的上手难度排行。 注:数据来源于官方,难度等级都是官方定的。 很多人可能对于这个榜单有异议,觉得很多英雄明明很难为什么难度等级这么低,....
周五下午,大学生小林在剧本杀爱好者群里发出拼车消息,不到20分钟就收到了回应。对当代青年而言,剧本杀拼车组局早已不是陌生场景,这套“线上集结+线下互动”的流程体....
上证报中国证券网讯(记者白丽斐)科蓝软件(300663)30日晚间发布的2025年度业绩预告显示,预计2025年度归母净利润为亏损2.5亿元到3.3亿元,上年同....
盟升电子(688311)1月30日晚间发布2025年年度业绩预告。报告期内,公司预计实现营业收入为5.26亿元,较上年同期增长277%;预计实现归属于母公司所有....
新京报贝壳财经讯2月1日,奕派科技发布销量数据,2026年1月销量21269辆,同比增长145%。奕派科技旗下的东风奕派和东风风神品牌2026年计划投放5款全新....
(原标题:李雪琴被举报公司均为决议解散)永信证券 今日,网友实名举报李雪琴公司财务问题引发热议,李雪琴工作室就此发布律师声明并回应:“法院见”。 天眼查App显....
(原标题:国轩高科(002074.SZ):与包含雅迪在内的多家低速车企业均有合作)恒汇证券 格隆汇6月18日丨国轩高科(002074.SZ)于投资者互动平台表示....
(原标题:OpenAI指控Meta以1亿美元签约奖金挖角其开发人员)小麦策略小麦策略 观点网讯:6月18日,据媒体消息,OpenAI首席执行官Sam Altma....
“五年之内旺源配资,AI能不能证明人类没有证明的猜想或者公式?比如三体问题、黎曼猜想或是流体力学问题。” 今年5月时,中国工程院院士张亚勤透露,自己去年和中国科....
智通财经APP讯,北京燃气蓝天(06828)发布公告易云达,于2025年5月19日,北燃能源(本公司一间全资附属公司)与北京新奥新能源订立合资公司合作协议,订约....
中国经济网北京7月24日讯北交所网站昨日公布关于终止对苏州骏创汽车科技股份有限公司(骏创科技,833533.BJ)向特定对象发行股票审核的决定。 北交所于202....
渣打银行预计美联储下周将降息50个基点,此前,美国8月就业增长疲软,失业率升至2021年以来的最高水准。该银行策略师表示上阳网配资,8月份劳动力市场数据为9月份....
金融界2025年4月25日消息,国家知识产权局信息显示,浙江钱江摩托股份有限公司取得一项名为“一种摩托车档位检测机构”的专利,授权公告号 CN112576748....
汪佳蕊顺阳网 遇见小面明确表示,未来打算以快与以往的速度扩张。 根据香港联交所网站信息显示,近日,广州遇见小面餐饮股份有限公司(以下简称“遇见小面”)向香港联交....
今日,A股强势上攻,上证指数再创年内新高,并逼近3500点,沪深300指数亦再度冲击4000点大关,创业板指则大涨逾2%。超4300只个股下跌,成交温和放大至1....
7月17日张吧策路,和讯投顾李景峰称,近期有几个重要热点值得关注。首先是AI这条线索,有朋友问能否关注,答案是可以的。其逻辑在于黄仁勋可能继续向国内出售H20卡....
7月24日,2025人形机器人先进制造技术论坛在湖南省株洲市举办。 “马斯克经常提到人形机器人进入汽车生产工厂,其实在去年我们已经跟国内一些头部厂商在实验让人形....
继“初婚最高奖4万”政策出台后,近日,广州南岭村又发钱:《生育补助方案》正式生效——生一孩补1万元、二孩2万元、三孩3万元,多胞胎直接封顶6万元;同时倍悦网,村....